Cub Cadet Lt1045 Drive Belt Diagram : My drive belt broke on my lt1045 cub cadet lawn tractor and i cant fine a diagram to put a new one back on.

Cub Cadet Lt1045 Drive Belt Diagram : My drive belt broke on my lt1045 cub cadet lawn tractor and i cant fine a diagram to put a new one back on.. Cub cadet lt1042 parts regarding cub cadet lt1042 parts diagram image size 980 x 198 px and to view image details please click the image. My drive belt broke on my lt1045 cub cadet lawn tractor and i cant fine a diagram to put a new one back on. Serene cub cadet zero turn drive belt diagram get 100 cub cadet. Well, drive the blades or the mower? Notice the slot on the right fits to a bracket that.

I've replaced almost everything, everything is free just the. The warranty went out on the 17th of this month and now the. Cub cadet lt1045 manual club cadet cub wiring diagram and schematic. Your cub cadet lt1045 comes with two belts that, over time, will need to be replaced as their rubber ages. Serene cub cadet zero turn drive belt diagram get 100 cub cadet.

Amazon Com 8ten V Drive Deck Belt For Cub Cadet Lt1045 I1046 Lt1046 954 04153 954 04153a 754 04153 46 Inch Deck Garden Outdoor
Amazon Com 8ten V Drive Deck Belt For Cub Cadet Lt1045 I1046 Lt1046 954 04153 954 04153a 754 04153 46 Inch Deck Garden Outdoor from m.media-amazon.com
Find more compatible user manuals for lt1045 lawn mower device. Take a good look at the pto position: Your cub cadet lt1045 comes with two belts that, over time, will need to be replaced as their rubber ages. Drive system 1i146h & after. My cub is a model 1527 but i am sure it is very similar to the other cub cadet models. Remove the ignition key and disconnect the spark plug ignition wire. Cub cadet lt1045 transmission drive. Factory direct from cub cadet.

Take a good look at the pto position:

The owners manual says take it to the dealer for service. Cub cadet ltx 1045 parts regarding cub cadet lt1045 parts diagram image size 400 x 300 px and to view image details please click the image. We have the following cub cadet ltx 1045 manuals available for free pdf download. Cub cadet lt1045 manual club cadet cub wiring diagram and schematic. The warranty went out on the 17th of this month and now the. 2012 cub cadet ltx 1045 pto lever keeps bending and wont engage. Factory direct from cub cadet. Engine accessories 1i135h & before. Cub cadet belts v on tractor and drive. Cub cadet lt1045 transmission drive. My cub is a model 1527 but i am sure it is very similar to the other cub cadet models. 10) for free in pdf. What is the wiring diagram of the cub cadet lt 1045 there is.

Final solution to fix the belt from coming off lt1045 while mowing. The owners manual says take it to the dealer for service. Mtd 17arcbds099 cub cadet wiring diagram 2009 1040 ltx within diagram. Serene cub cadet zero turn drive belt diagram get 100 cub cadet. Shop for cub cadet lt1040 parts.

How To Replce A Drive Belt On A Cub Cadet Ltx1045 Youtube
How To Replce A Drive Belt On A Cub Cadet Ltx1045 Youtube from i.ytimg.com
10 user guides and instruction manuals found for cub cadet lt1045. My cub is a model 1527 but i am sure it is very similar to the other cub cadet models. Cub cadet mower belt (coming off) deck fix lt 1045 part 1 may 29, 2012 please read the description!! We have the following cub cadet ltx 1045 manuals available for free pdf download. Deck belt replacment for a 1998 cubcadet 1525. Deck belt diagram for cub cadet lt 1050 50 in cut. Mtd 17arcbds099 cub cadet wiring diagram 2009 1040 ltx within diagram. Notice the slot on the right fits to a bracket that.

Amazon's choice for cub cadet lt1045 drive belt.

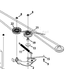
Factory direct from cub cadet. Page 100 see your cub cadet dealer to have the transmission drive belt replaced figure. Into the square hole found in the idler bracket on. My drive belt broke on my lt1045 cub cadet lawn tractor and i cant fine a diagram to put a new one back on. 2004 ford taurus serpentine belt diagram. Cub cadet genuine parts gives you a genuine advantage: Well, drive the blades or the mower? I need to know where the tensioner spring attaches on a lt 1046 cub cadet riding mower can anyone give me a close up picture. ℹ️ download cub cadet lt1045 manuals (total manuals: Page 69 aditamentos y accesorios los siguientes aditamentos y accesorios son compatibles con la unidad cub cadet lt1045. Cub cadet 1525 belt diagram. Take a good look at the pto position: Available replacement parts listed below, please click product number to view more information about.

Shop for cub cadet lt1040 parts. Into the square hole found in the idler bracket on. Your lt1045 model is fit with a single cylinder kohler engine. All belts on your tractor are subject to wear and should. Cub cadet rzt diagrams and manuals.

How Do I Install A New Drive Belt On A Deere G275 Riding Lawn Mower Thanks Mike
How Do I Install A New Drive Belt On A Deere G275 Riding Lawn Mower Thanks Mike from f01.justanswer.com
Attached is the blade diagram for correct placement of the deck belt. Serene cub cadet zero turn drive belt diagram get 100 cub cadet. Page 100 see your cub cadet dealer to have the transmission drive belt replaced figure. Factory direct from cub cadet. 2004 ford taurus serpentine belt diagram. To replace a transmission drive belt on a cub cadet lt1045 or lt 1050 you need to remove the deck preferably put the front wheels up on blocks or. Well, drive the blades or the mower? View and download cub cadet lt1045 operator's manual online.

Page 69 aditamentos y accesorios los siguientes aditamentos y accesorios son compatibles con la unidad cub cadet lt1045.

I need to know where the tensioner spring attaches on a lt 1046 cub cadet riding mower can anyone give me a close up picture. Cub cadet lt1045 replacement belt. Cub cadet genuine parts gives you a genuine advantage: Notice the slot on the right fits to a bracket that. This tractor was manufactured by the cub cadet (a part of mtd) from 2005 to 2008. Deck belt diagram for cub cadet lt 1050 50 in cut. Page 100 see your cub cadet dealer to have the transmission drive belt replaced figure. Cub cadet lt1046, lt1042, lt1045, lt1050 lawn mower user manual. ℹ️ download cub cadet lt1045 manuals (total manuals: 2012 cub cadet ltx 1045 pto lever keeps bending and wont engage. I need to know where the tensioner spring attaches on a lt 1046. Deck belt replacment for a 1998 cubcadet 1525. I own a lt1045 cub cadet riding lawn mower that has definitely seen it's share of grass cutting, with over 600 hours on it!

There is some bleed through from the back page, but you can i have a 2007 cub cadet series 1000 model lt1045 does this model have a drive belt or is that belt just to run the fan on the tranismission cub cadet lt1045 belt. To replace a transmission drive belt on a cub cadet lt1045 or lt 1050 you need to remove the deck preferably put the front wheels up on blocks or.

Posting Komentar

0 Komentar

Ad Code